Интегрална схема AN7222N

Price: €0.66 (BGN 1.29) incl. VAT

14-ДНЕВНО БЕЗПЛАТНО И ЛЕСНО ВРЪЩАНЕ

Ако получите днес, последният ден за връщане на този артикул ще бъде 30 March

Secure payment via:

Payment on delivery Pay with Visa Pay with Mastercard Pay with bank transfer Pay with bank transfer

Delivery to anywhere in the world:

НА МЯСТО - МАГАЗИН МЛАДОСТ 4 Econt BG до АДРЕС DHL International Shipping Express SPEEDY BG до офис GREECE only EU Shipments - Geniki Taxydromiki International Shipping Economy КСП АВТОМАТ- Младост 4 (предплатени поръчки)
Status
In stock
Магазин: София, Младост 4
Available quantity
50+
Condition
NEW / НОВ
Description
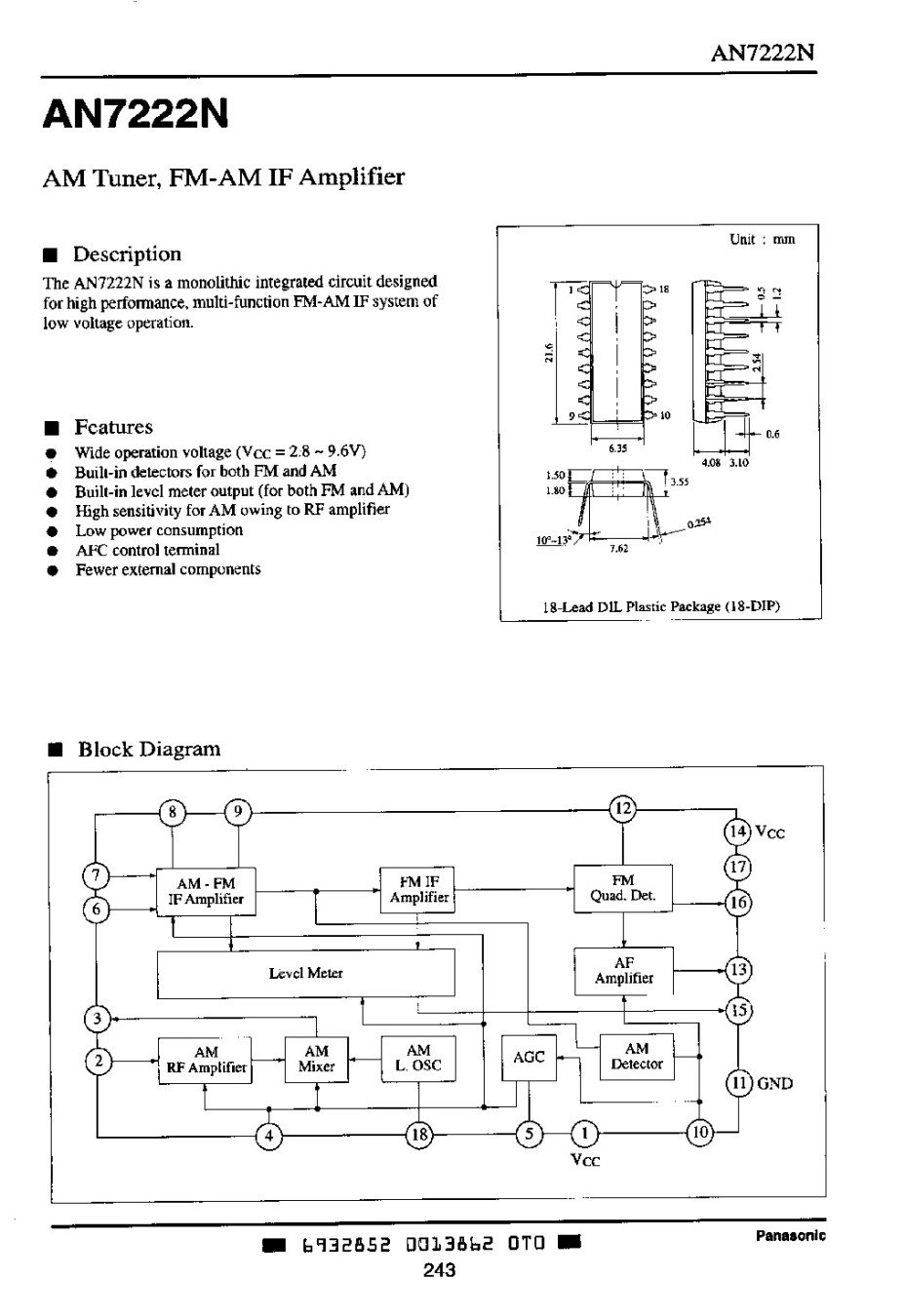
AM/FM-ZF, AFC, AGC, Demod.,
Product code
AN7222N
Barcode
017459
Brand / Manufacturer
MATSUSHITA
Documents