Интегрална схема AN80T05

Цена: 3,55 € (6,95 лв.) с ДДС

14-ДНЕВНО БЕЗПЛАТНО И ЛЕСНО ВРЪЩАНЕ

Ако получите днес, последният ден за връщане на този артикул ще бъде 16 април

Сигурно плащане чрез:

Наложен платеж Pay with Visa Pay with Mastercard Pay with bank transfer Pay with bank transfer

Доставка до всяка точка на света:

НА МЯСТО - МАГАЗИН МЛАДОСТ 4 Econt BG до АДРЕС DHL International Shipping Express SPEEDY BG до офис GREECE only EU Shipments - Geniki Taxydromiki International Shipping Economy КСП АВТОМАТ- Младост 4 (предплатени поръчки)
Статус
В наличност
Магазин: София, Младост 4
Налично количество
50+
Състояние
NEW / НОВ
Описание
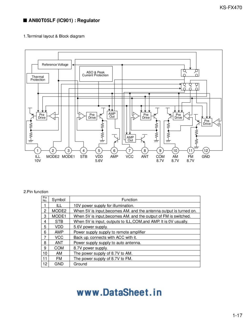
6xPos.V-Reg.+Backup Mode,12-SILP,JVC/KX-FX12 ,
Код на продукта
AN80T05
Баркод
017515
Марка / Производител
MATCHITA
Документи

АНАЛОГИЧНИ ПРОДУКТИ

AN80T05
Интегрална схема AN80T05
Код: AN80T05
6xPos.V-Reg.+Backup Mode,12-SILP,JVC/KX-FX12 ;
BA3918      CH
Интегрална схема BA3918 CH
Код: BA3918 CH
6xPOS V-REG+BACKUP MODE;
BA3918     OR
Интегрална схема BA3918 ORIGINAL
Код: BA3918 OR
Radio, Stromversorgung/Power Supply AN80T05;